RAIL MOUNT ATTACHMENTS

Modified on Tue, 7 Apr, 2020 at 10:50 AM

           

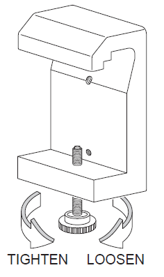
Instructions for use. Please see the attached document for instructions.



Was this article helpful?

That’s Great!

Thank you for your feedback

Sorry! We couldn't be helpful

Thank you for your feedback

Let us know how can we improve this article!

Select at least one of the reasons
CAPTCHA verification is required.

Feedback sent

We appreciate your effort and will try to fix the article